De stationaire pneumatische takel van HQ Gaston is een betrouwbare hijsoplossing. De pneumatische aandrijving, aangedreven door perslucht, zorgt voor soepel heffen. Dankzij het compacte ontwerp en de stevige structuur werkt hij urenlang stabiel. Hij is geschikt voor diverse vaste hijswerkzaamheden en biedt draagvermogen, nauwkeurige bediening en eenvoudig onderhoud. De geluidsarme werking verlaagt de kosten verder. De pneumatische takel van HQ Gaston is ideaal voor fabrieken, magazijnen en bouwplaatsen en zorgt voor efficiënt en veilig tillen.
Gedetailleerde parameters
Prestatiekenmerken van lucHttakel
|       Luchtdruk (PSI)  |           Luchtdruk (Mpa)  |     Maximaal vermogen (pk) | Vrije snelheid (tpm) | Snelheid bij maximaal vermogen (rpm) | Koppel bij maximaal vermogen (NM) | Luchtverbruik bij maximaal vermogen (m 3 /min) | Stopkoppel en startkoppel (NM) | 
| 40 | 0.28 | 45% | 80% | 30% | 37,50% | 45% | 45% | 
| 50 | 0.35 | 56% | 84% | 44% | 52,40% | 56% | 56% | 
| 60 | 0.4 | 67% | 88% | 58% | 65,90% | 67% | 67% | 
| 70 | 0.48 | 78% | 92% | 72% | 78,30% | 78% | 78% | 
| 80 | 0.55 | 89% | 96% | 86% | 89,60% | 89% | 89% | 
| 90 | 0.63 | 100% | 100% | 100% | 100% | 100% | 100% | 
| 100 | 0.7 | 110% | 104% | 114% | 109,60% | 110% | 110% | 
           |                |    
| De figuur toont een typische koppel- en vermogenscurve van een pneumatische motor bij twee verschillende luchtdrukken. Het motortoerental, koppel en vermogen nemen af naarmate de luchtdruk afneemt. | De figuur toont de koppel- en snelheidscurven van de pneumatische motor onder twee verschillende luchtdrukken. Het toerental en koppel van de motor nemen af naarmate de luchtdruk afneemt. Het koppel neemt aanzienlijk af, terwijl het motortoerental iets afneemt naarmate de druk afneemt. | 
              Prestatiecurvegrafiek           
  
 
Technisch gegevensblad
|       Pneumatische takel 
 
 
 
 
  |           Gietvorm  |           Eenheid  |           Hoofdkwartier 2-2  |           Hoofdkwartier3-1  |           Hoofdkwartier3-2  |           Hoofdkwartier6-2  |           Hoofdkwartier 10-2  |    |||||
|       Luchtdruk  |           Mpa  |           0.4  |           0.6  |           0.4  |           0.6  |           0.4  |           0.6  |           0.4  |           0.6  |           0.4  |           0.6  |    |
|       Laden  |           (ton)  |           2  |           3  |           3  |           6  |           10  |    ||||||
|       Aantal kettingen  |           wortel  |           2  |           1  |           2  |           2  |           2  |    ||||||
|       Uitgangsvermogen van de motor  |           (kW)  |           1.5  |           2  |           1.8  |           3.5  |           1.5  |           2  |           1.8  |           3.5  |           1.8  |           3.5  |    |
|       Hefhoogte  |           (M)  |     De standaard hoogte is 3 meter | ||||||||||
|       Heffen van volledige lading met hoge snelheid  |           (m/min)  |           2.5  |           2.7  |           2.5  |           5  |           2  |           2.5  |           1.2  |           2.5  |           0.8  |           1.5  |    |
|       Daalsnelheid bij volle belasting  |           (m/min)  |           5  |           5.5  |           7.5  |           11  |           8  |           11  |           3.5  |           5.5  |           2.5  |           3.5  |    |
|       Gasverbruik bij volledige belasting·Verhoging  |           (m³/min)  |           0.7  |           1.2  |           2  |           4  |           1.8  |           2.6  |           2  |           4  |           2  |           4  |    |
|       Maat ketting  |           (mm)  |           9*27  |           13*36  |           9*27  |           13*36  |           16*45  |    ||||||
|       Gewicht van de ballast  |           KG/M  |           1.8  |           3.8  |           1.8  |           3.8  |           5.8  |    ||||||
|       Standaard gewicht (3m hefhoogte)  |           (kg)  |           38  |           86  |           68  |           98  |           115  |    ||||||
|       Lengte luchtleiding controller  |           (M)  |           Standaardlengte is 3 meter  |    ||||||||||
|       Geluidsniveau bij volle belasting  |           (db)  |           74  |           78  |           74  |           78  |           74  |           78  |           74  |           78  |           74  |           78  |    |
|       Luchtpijp-connector  |           (in)  |           G3/4  |           G3/4  |           G3/4  |           G3/4  |           G3/4  |    ||||||
|       Maat luchtleiding (binnendiameter)  |           (mm)  |           14  |           19  |           19  |           19  |           19  |    ||||||
|       Lopende auto  |           Motorvermogen  |           (kW)  |           0.25  |           0.25  |           0.25  |           2  |           2  |    |||||
|       Snelheid bij volle belasting  |           (m/min)  |           13  |           13  |           13  |           10  |           10  |    ||||||
|       Luchtverbruik motor  |           (m³/min)  |           0.45  |           0.25  |           0.25  |           2  |           2  |    ||||||
|       Luchtpijp-connector  |           (in)  |           G1/2  |           G3/4  |           G1/2  |           G3/4  |           G3/4  |    ||||||
|       Maat luchtleiding (binnendiameter)  |           (mm)  |           13  |           13  |           13  |           19  |           19  |    ||||||
|       Gewicht (trolley)  |           (kg)  |           40  |           75  |           49  |           75  |           89  |    ||||||
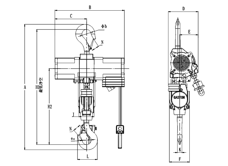
Afmetingen
           |                |    
Afmetingen
|       Model  |           Eenheid  |           Hoofdkwartier 1,5-1  |           Hoofdkwartier 2-2  |           Hoofdkwartier3-1  |           Hoofdkwartier3-2  |           Hoofdkwartier6-2  |           Hoofdkwartier 10-2  |    
|       A  |           mm  |           690  |           556  |           905  |           690  |           905  |           1050  |    
|       A1  |           mm  |           608  |           585  |           885  |           608  |           885  |           960  |    
|       B  |           mm  |           436  |           35  |           539  |           436  |           539  |           558  |    
|       C  |           mm  |           202  |           146  |           246.5  |           202  |           246.5  |           256  |    
|       D  |           mm  |           176  |           185  |           220  |           176  |           220  |           256  |    
|       E  |           mm  |           100  |           140  |           146  |           100  |           146  |           128  |    
|       F  |           mm  |           150  |           385  |           158  |           150  |           158  |           205  |    
|       J  |           mm  |           90  |           65  |           120  |           90  |           120  |           135  |    
|       K  |           mm  |           26.5  |           26  |           38  |           26.5  |           38  |           49  |    
|       Minimale speling H1  |           mm  |           659  |           500  |           807  |           659  |           807  |           969  |    
|       H2  |           mm  |           439  |           338  |           548  |           439  |           548  |           652  |    
|       H3  |           mm  |           597  |           528  |           768  |           597  |           768  |           860  |    
|       φa  |           mm  |           53  |           48  |           69  |           53  |           69  |           55  |    
|       φb  |           mm  |           53  |           48  |           69  |           53  |           69  |           55  |    
|       φc  |           mm  |           28  |           28  |           33  |           28  |           33  |           36  |    
|       Model  |           Eenheid  |           Hoofdkwartier 16-3  |           Hoofdkwartier 20-4  |           Hoofdkwartier30-2  |           HQ50-4  |           Hoofdkwartier 75-3  |           HQ100-4  |    
|       A  |           mm  |           1350  |           1195  |           1370  |           1610  |           2535  |           2610  |    
|       B  |           mm  |           558  |           559  |           900  |           955  |           1535  |           1535  |    
|       C  |           mm  |           246.5  |           247  |           450  |           530  |           820  |           820  |    
|       D  |           mm  |           386  |           472  |           445  |           445  |           600  |           600  |    
|       E  |           mm  |           195  |           127  |           270  |           270  |           405  |           365  |    
|       F  |           mm  |           262  |           365  |           310  |           350  |           450  |           450  |    
|       Minimale speling H1  |           mm  |           1163  |           1117  |           1260  |           1485  |           1935  |           1935  |    
|       H2  |           mm  |           675  |           630  |           825  |           950  |           1250  |           1250  |    
|       φa  |           mm  |           95  |           102  |           126  |           120  |           315  |           355  |    
|       φb  |           mm  |           95  |           102  |           126  |           120  |           315  |           355  |    
|       N  |           mm  |           88  |           95  |           113  |           122  |           250  |           280  |    
|       Pneumatische takel  |           Hoofdkwartier 2-2  |           Hoofdkwartier3-2  |           Hoofdkwartier6-2  |           Hoofdkwartier 10-2  |           Hoofdkwartier 16-3  |           Hoofdkwartier 20-4  |    
|       Lopende auto  |           QDC-2  |           QDC-3  |           QDC-6  |           QDC-10  |           QDC-16  |           QDC-20  |    
|       A  |           325  |           340  |           400  |           496  |           496  |           675  |    
|       B  |           125  |           140  |           155  |           186  |           186  |           270  |    
|       b Bereik spoorbreedte  |           80-120  |           110-150  |           200-250  |           200-250  |           200-250  |           250-300  |    
|       bm  |           168  |           235  |           330  |           350  |           375  |           375  |    
|       C  |           218  |           250  |           290  |           364  |           364  |           490  |    
|       D  |           110  |           120  |           135  |           166  |           166  |           240  |    
|       E  |           45  |           68  |           53  |           144  |           147  |           157  |    
|       F  |           210  |           290  |           322  |           358.5  |           358.5  |           313  |    
|       G  |           145  |           176  |           256  |           256  |           386  |           472  |    
|       H Minimale vrije ruimte  |           615  |           626  |           973  |           973  |           980  |           1270  |    
|       h  |           120  |           130  |           140  |           140  |           166  |           250  |    
|       J  |           90  |           93  |           118  |           135  |           200  |           120  |    
|       K  |           26  |           30  |           36  |           49  |           60  |           72  |    
|       L  |           169  |           232.5  |           293  |           303  |           295  |           293  |    
|       M  |           146  |           203.5  |           249  |           256  |           245  |           247  |    
|       N  |           33  |           35  |           48  |           66  |           88  |           95  |    
|       P  |           140  |           146  |           142.7  |           128  |           195  |           127  |    
|       Φ  |           48  |           53  |           69  |           71  |           95  |           102  |    

In moderne industriële productiesystemen bepaalt de prestaties van stroomeenheden direct de efficiëntie en stabiliteit van productieprocessen. Als een aandrijfapparaat dat gecomprimeerde lucht als ...
Bekijk meerIn de moderne industrie heeft de keuze van energietransmissieapparatuur direct invloed op de productie -efficiëntie en operationele stabiliteit. Als een aandrijfapparaat aangedreven door gecomprime...
Bekijk meerIn de enorme arena van de Moderne Industrie Productie tilt apparatuur op een onmisbare 'Held achter de schmen', die stilletjes de soepele werk van Verschillende productieProcessen Onderst...
Bekijk meerBlijf verbonden